图片仅供参考,请以已选的规格为准
铰链销 轴端形状组合型
品牌名称:
怡合达
条件筛选:
产品型号:
登录后可查看价格、加入购物车、一键购买
立即登录
型号筛选
未生成型号,还有 32 项未选择
代码
参数选型
材质
硬度
表面处理
产品选型
轴端形状
轴端形状1
D
L
LE
RE
Ld
Rd
M
N
LF
RF
LT
RT
LH
RH
MA
NA
MB
NB
LX
RX
LY
RY
LZ
RZ
LV
RV
技术图档
3D预览
可选加工
材质图
参数图
| 代码 | 类型 | 材质 | 硬度 | 表面处理 | |
| 国标 | 相当 | ||||
| MHG01 | 轴端形状 组合型 |
45 | S45C | — | 发黑 |
| MHG02 | 40~45HRC | ||||
| MHG03 | — | 无电解镀镍 | |||
| MHG04 | 40~45HRC | ||||
| MHG05 | 镀层硬度850HV~ | 镀硬铬 | |||
| MHG06 | 0Cr18Ni9 | SUS304 | — | — | |
| MHG07 | 9Cr18Mo | SUS440C | 45~50HRC | ||
| MHG08 | 45~50HRC,镀层硬度850HV~ | 镀硬铬 | |||
如对防锈有要求,请优先选择不锈钢材质产品或表面处理为无电解镀镍、镀硬铬的产品。
SUS440C材质可能会因淬火而发生变色。

选型表
L≤内螺纹的底孔深度时,底孔可能会贯通。
选择F形时,L≥11。
轴两端倒角C0.5以下。
尺寸表
| D | d | d公差 | m | m公差 | D1 | n | W |
| 3 | 2 | +0.06 0 |
0.5 | +0.14 0 |
2.9 | 1~1.5 | — |
| 4 | 3 | 0.7 | 3.9 | ||||
| 5 | 4 | +0.075 0 |
4.9 | ||||
| 6 | 5 | 5.8 | 1.5 | ||||
| 8 | 7 | +0.09 0 |
0.9 | 7.8 | |||
| 10 | 9.6 | 0 -0.09 |
1.15 | 9.8 | 2 | ||
| 12 | 11.5 | 0 -0.11 |
11.8 | ||||
| 15 | 14.3 | 14.8 | |||||
| 16 | 15.2 | 15.8 | |||||
| 20 | 19 | 0 -0.21 |
1.35 | 19.8 | 3 |
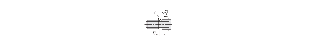
外螺纹退刀槽加工尺寸
| MA/MB/NA/NB (粗牙螺纹) |
g | r | f |
| 3 | 1.2 | 0.2~0.4 | 2.1 |
| 4 | 3.1 | ||
| 5 | 4.1 | ||
| 6 | 2.5 | 0.2~0.6 | 4.3 |
| 8 | 6.3 | ||
| 10 | 8.3 | ||
| 12 | 3 | 0.2~1 | 9.8 |
| 16 | 13.8 |
